写器のたしなみ
公開日:2026/01/09
小さなカメラの大きな役割 オリンパスペンとリコーオートハーフ
Photo & Text:井口留久寿 (いのくちるくす) Inoctilux
カメラボディの主な分類方法には「一眼レフカメラ」や「ミラーレスカメラ」といったファインダー型式による分類、「銀塩カメラ」や「デジタルカメラ」といった感光材料、「中判カメラ」や「大判カメラ」といった画面サイズ、そのほか「レンズ交換式」か「非交換式」という区分もあるが、こうした機械的(機構的)な分類とは別に、「コンパクトカメラ」という外観的な分類を目にすることがある。この「コンパクトカメラ」は1967(昭和42)年に発売された「ローライ35」を最初とすることが多いが、1925(大正14)年に発売された「ライカ」も当時は充分にコンパクトなカメラだった。その後の「コンパクトカメラ」を見てみても、それは「小型の初級機」ではなく「簡便な操作」と「充分な性能」が期待されていると思われる。
ローライ35とライカ I(A)そういう視点で見てみると、日本製のコンパクトカメラの早い時期の製品としては1948(昭和23)年にオリンパス光学工業が発売した「オリンパス35」といえる。このカメラを手掛けたのは、桜井栄一。彼は1935(昭和10)年に高千穂製作所に入社し、同社の新事業だったレンズとカメラの企画製作に関わりロールフィルムを使用する小型カメラに注目。「オリンパススタンダード」(試作機)を設計しただけでなく、ロールフィルムカメラの課題だった画面の平面性の研究で写真業界にも大きく貢献した。
焦点距離40ミリのレンズで24×32ミリの通称「二ホン判」の画面サイズを撮影する「オリンパス35」
シャッターのカバー部の形状から「招き猫」の愛称で呼ばれたそして広角レンズを装着した「ワイドカメラ」の流行のきっかけとなった1955(昭和30)年発売の「オリンパスワイド」を手掛けた松崎惣一郎が基本設計をして発案したものを桜井氏が承認して誕生したのが1959(昭和34)年に発売された「オリンパスペン」であり、その詳細設計担当者に選出されたのが、当時新人だった米谷美久である。
ワイドカメラブームのきっかけとなった「オリンパスワイド」

松崎惣一郎が発案と基本設計、米谷美久が詳細設計を担当した「オリンパスペン」

「オリンパスペン」の通常版とカラーバリエーションのひとつ「ジョンブリアン」
(通常版のグレーのほか、ジョンブリアンとブラックが製造された)

「オリンパスペン」の「コパル#000」シャッターとレンズ周辺
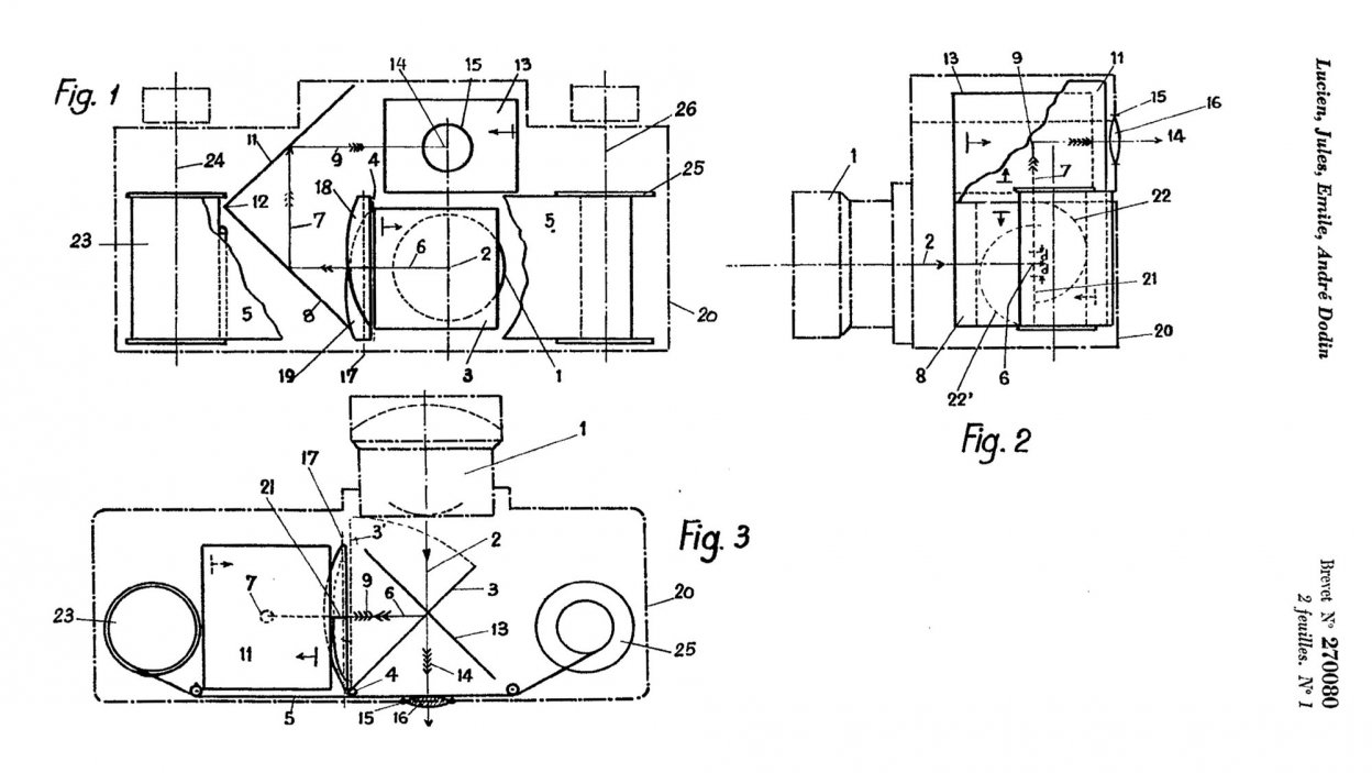
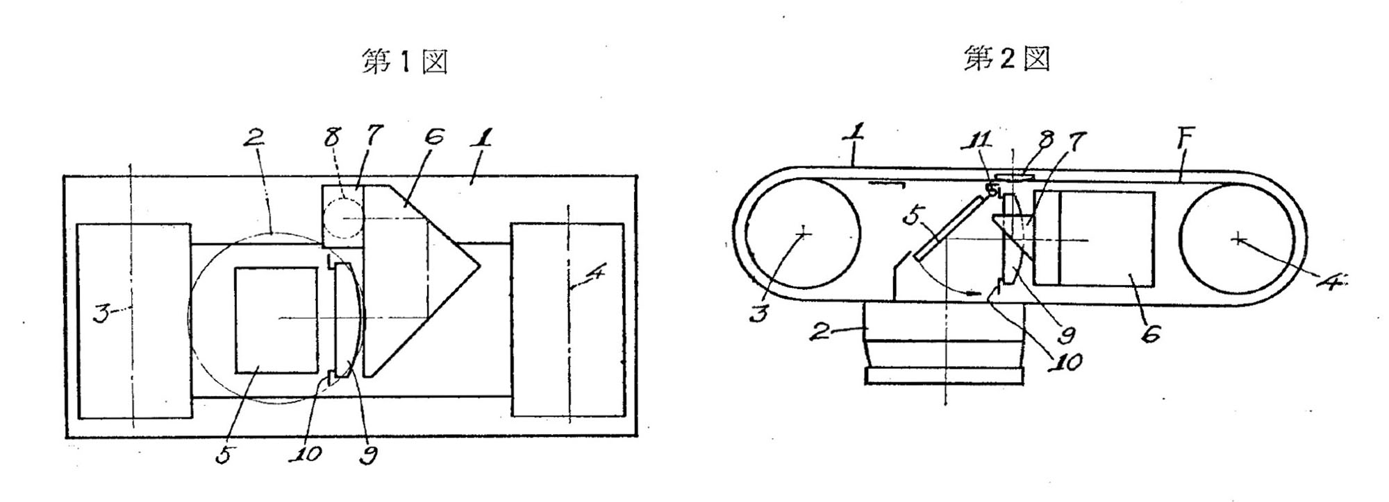
各種「ペン」シリーズは1980年代後半まで継続する人気製品となるが、白眉は1963(昭和38)年の「オリンパスペンF」である。同機が採用したロータリーシャッターと横向きのミラー配置などはフランスのアルザフォトが製造した「アルザフレックス」が先行しており、それに関する1947(昭和22)年出願のルシアン・ドダン(Lucien Jules Emile Andre Dodin)の特許(US2526204ほか)や、1960(昭和35)年出願のキヤノンカメラの近藤敬一郎による特許(昭38-22631)などにも同様の取り組みが見られ興味深いが、「オリンパスペンF」によって「ハーフサイズ一眼レフカメラ」という新分野、そして一眼レフカメラの小型化という潮流が確立された。
ルシアン・ドダンの特許(スイス特許270080号)

キヤノンカメラの近藤敬一郎による特許(昭38-22631号)

「ハーフサイズ一眼レフカメラ」という分野を確立した「オリンパスペンF」
「オリンパスペン」シリーズと人気を二分したカメラが1962(昭和37)年に発売された「リコーオートハーフ」である。このカメラは理研光学の安宅久憲が小型で簡単な操作で「おふくろでも撮れるカメラ」を同僚の若手技術者らと検討し、1961(昭和36)年から設計を開始。その設計図が上層部の目に止まったことから正規の製品開発計画が始まった。
「リコーオートハーフ」は正面から見ると社名以外に文字が見当たらない
このカメラはポケットに入るように当時のタバコのサイズを参考として大きさを決定し、そこに簡単な操作ということで自動化の機構を入れている。それが自動露出調節機構であり、スプリングモーターによる巻上げ機構である。この機構を斬新な外装に収めた結果、ここまで撮影に関する文字が少ないカメラは他に見られないのではと思える外観であり、撮影者がやることは基本的にシャッターボタンを押すことだけである。
「リコーオートハーフ」は外装も非常に多くのバリエーションが作られ、また、多機能化した後継機が製造されたことで大きな成功を収め、最終機種となった1979(昭和54)年発売の「オートハーフEF2」の製造時点で600万台以上を製造したとされる。
各種「リコーオートハーフ」

ラピッド方式のフィルムを使用する「ラピッドハーフ」

「セイコーシャBS11」の絞り羽根の独特の形状
両機はハーフサイズの小型カメラであることにくわえ、カメラに知識と愛情を持っていた人々が担当したという共通点があるが、カメラであろうとした「オリンパスペン」と、カメラっぽくない「リコーオートハーフ」という、まったく反対といって良い製品になっていることが興味深い。結果、ハーフサイズカメラは写真やカメラに経験がある人から初めてカメラを使う人にまで全体的な流行を見たといえる。そこには粒状性をはじめとしたフィルムの性能やプリントの技術向上などもあるが、多くの人が写真に親しむようになった。
ハーフサイズカメラで普及した利便性は全自動コンパクトカメラ、現在では携帯電話やスマートフォンに引き継がれている部分が大きい。こうした誰もが使用する普及機の技術革新の背景には、設計や開発に携わる技術者の高度な写真技術の把握というだけではなく、カメラを使って撮影する楽しさ、写真を見る人の喜びにまで及ぶ優しい視点に裏打ちされている。【いのくちるくすから一言】
「オリンパス35」を手掛けた桜井栄一さんは小学校の頃から写真に親しみ、1929(昭和4)年には中島謙吉氏に師事し、在職中も写真作品の製作や発表に熱心な写真愛好家でした。あるとき、建物の入り口で桜井さんにお会いしたことがありました。知るはずもない私の唐突な挨拶に対しても柔らかく「こんにちは」と応じられ、それから空を眺めて「今日は良い光だねぇ」と言われました。その丁寧さとやさしさ。このとき「カメラは人間が人間のために作っているのだ」と妙に感じ入ったものでした。
そうして「オリンパスペン」と「リコーオートハーフ」を並べて仔細に見てみると、「オリンパスペン」のために設計したという「コパル#000」シャッターおよびレンズの周辺に丁寧に記された撮影のための文字情報、「リコーオートハーフ」に採用された「セイコーシャBS11」の絞り羽根の独特の形状など、そのカメラを作り上げるために協力した人々の努力が感じられます。そして内部構造まで目を向けると「カメラらしいオリンパスペン」が少ない部品点数で堅実に構成され、「カメラらしくないリコーオートハーフ」は想像以上に複雑精緻。これを見せないあたり「粋」といった言葉を思い出しますが、ここにも「誰でもが簡単にきれいな写真を撮れるように」という、カメラや写真と人間の歴史を紡いできた技術者の良心の具現化が感じられます。コンテンツ記事関連商品
オリンパス
コンパクト・その他
¥58,000
スズキカメラ商会
オリンパス
コンパクト・その他
¥15,000
日東商事
オリンパス
コンパクト・その他
¥20,000
スズキカメラ商会
井口留久寿(いのくちるくす) Inoctilux
本名は井口芳夫、1972(昭和47)年福岡市出身。日本大学芸術学部写真学科卒業後、財団法人日本写真機光学機器検査協会(現・日本カメラ財団)に就職し、同財団が運営する日本カメラ博物館の学芸員として勤務。カメラと時計の修理が趣味だが、その趣味をひと段落するため車を入手するも修理に追われ、資料と工具と部品が増えるばかり。
ウェブサイト:日本カメラ博物館
https://www.jcii-cameramuseum.jp/