写器のたしなみ
公開日:2026/02/10
写真とカメラと電気の出会い(1)
Photo & Text:井口留久寿 (いのくちるくす) Inoctilux
コンタフレックスとスーパーコダック620そしてα-7000へ
適正露出は現在でも写真家を悩ませるが、写真術が発表された19世紀から、天候などの撮影条件から導き出す露出計算表、感光性の紙の変色時間で計測する露出計、段階的に濃度が変化した指標(ステップウェッジ)を読み取る視覚式露出計などが存在。カメラ内に露出計を装備した初期のカメラとして知られる1932(昭和7)年のフォクトレンダー製「プロミネント」も視覚式露出計を装備していたが、視覚式露出計は短時間で計測しなければ目が暗部に慣れてしまうなどの欠点があった。それを解決したのが電気である。

特徴的な外観をもつ「プロミネント」

「プロミネント」に内蔵された視覚式露出計
奇しくも写真術が発表された1839(天保10)年、エドモンド・ベクレル(Alexandre Edmont Becquerel)が光と電気の関係を発見し、1883(明治16)年にはチャールズ・フリッツ(Charles Fritts)がセレニウム(セレン)の光起電力効果を発表。そして1931(昭和6)年になってトーマス・ラムシュティン(John Thomas Rhamstine)がセレン式光電池を使用した電気露出計「エレクトロフォト」を製造。写真と電気の結びつきが生まれた。
1935(昭和10)年にツァイス・イコンから発売された「コンタフレックス」はカメラ内にセレン式露出計を装備。摺動抵抗を使用したダイヤルを操作することで、絞り値とシャッター速度の組み合わせを決定できた。デジタルカメラ隆盛の現在、カメラと電気は不可分の関係だが、その関係は「コンタフレックス」が始まりと言える。

セレン光電池式露出計を内蔵した「コンタフレックス」

米国特許2058086号 この時はフォーカシングフード前面が受光部になっている
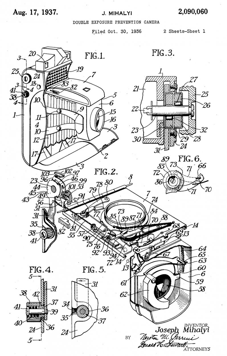
そこから間もない1938(昭和13)年、イーストマン・コダックは電気露出計を装備しているだけでなく、シャッター速度を設定すればカメラ側で絞り値を自動的に設定する世界最初の自動露出調節機構内蔵のカメラ「スーパーコダック620」を発売した。ジョセフ・ミハリイ(Joseph Mihalyi)が設計したこのカメラはウォルター・ドーウィン・ティーグ(Walter Dorwin Teague)がデザインした先進的な外装で包まれている。

自動露出調節機構を装備した「スーパーコダック620」

米国特許2090060号
1963(昭和38)年に東京光学機械が製造した一眼レフカメラ「トプコンREスーパー」は、撮影用のレンズを通過する(Through The Lens=TTL)光を測定することで、実際にフィルムに到達する光量を計測できるようにした。ここで開発者のひとり河瀬澄之介が採用した、交換レンズの絞り値をボディに伝達する機構は「撮影レンズの透過光を測定する方式の露出計を組み込んだ自動プリセット絞式一眼レフレックスカメラ」という特許(特公昭42-16573)に見ることができる。

撮影レンズを透過した光で測光する「トプコンREスーパー」

「トプコンREスーパー」の受光部は反射ミラーに設けられたスリット部
1969(昭和44)年に東ドイツのペンタコン人民公社が製造した「プラクチカLLC」は、それまでのカメラが絞り値の情報を機械的に伝達していたものを電気接点で伝達する方式にした。その機構に注目した日本写真機光学機器検査協会(現・日本カメラ財団)によって分解調査され、財団は「プラクチカLLCカメラにおける絞り情報の電気的伝達機構」および「プラクチカLLC分解調査報告」といった詳細なレポートを作成し、写真業界に向け発表した。この電子接点方式をさらに進めたのがローライヴェルケ・フランケ&ハイデッケで、1975(昭和50)年に発売した「ローライフレックスSLX」は絞り羽根を動作させるソレノイドをレンズ内に持たせたことでボディとレンズの間に機械的連動は不要となり、電子接点だけのレンズマウントとなった。

「プラクチカLLC」のボディとレンズの金属接点

「ローライフレックスSLX」のボディとレンズの金属接点
露光量を補助するエレクトロニックフラッシュを内蔵したカメラは1962(昭和37)年頃のトライドコーポレーションが製造した「フォトロン」および1964(昭和39)年のフォクトレンダー社製「ビトローナ」が先行するが、前者は通信販売で短期間の展開で、後者は外部に大柄なグリップを必要とした。こうした問題を解決した1974(昭和49)年の小西六写真工業製「コニカC35EF」が実用的なエレクトロニックフラッシュ内蔵カメラの最初といえる。

特徴的な機構と操作法の「フォトロン」

ボディにエレクトロニックフラッシュを内蔵し、グリップ内に電池を装備する「ビトローナ」

「ピッカリコニカ」の愛称で親しまれた「コニカC35EF」
1975(昭和50)年に米国のハネウェル社が三角測量方式を応用したビジトロニックオートフォーカス(Visitoronic Auto Focus=VAF)モジュールを製品化し、それを装備したことで「C35EF」は1977(昭和52)年に「コニカC35AF」に発展。また、一眼レフカメラでもオートフォーカス化が各社で模索されていたが、1985(昭和60)年にミノルタから発売された「ミノルタα-7000」は、オートフォーカス一眼レフシステムを確立。その後のカメラのオートフォーカス化の指針が定まった。

「ジャスピンコニカ」の愛称で親しまれた「コニカC35AF」と内蔵されるVAFモジュール

本格的なオートフォーカス一眼レフカメラとなった「α-7000」
光の強弱を計測して人間の写真撮影を補助する役割を担った電気は、その役割を拡大していった。その恩恵で人々は簡単にきれいな写真を撮影できるようになってきたが、そのうち映像記録の役割も担うようになり、スチルビデオカメラ、デジタルカメラに発展し、電気が写真の中心となってゆく。 【いのくちるくすから一言】
どの機械にも言えることですが、新しい技術に取り組んだ初期の製品は目的が明確で興味深いものが多くあります。二眼レフカメラの「コンタフレックス」にしても蛇腹式の「スーパーコダック620」にしても、現在の眼から見るといかにも古めかしい構造であり、一見して異形かつ奇異な印象を受けるというのが正直なところですが、細部を観察するとそこに最新の技術を装備した工夫がみられ実に面白いものです。
「コンタフレックス」を手にすると、まずその重量に驚かされますが、レンズ周囲の多くの刻印とアルバダファインダーの金属とガラスの存在感、さらに露出計の蓋を開けたときの水晶の結晶が並んでいるような姿には「荘厳」という言葉が浮かびます。これは当時のドイツのサイレント映画に描かれた「未来」を思わせるもので、ややもすると「禍々しさ」や「恐ろしさ」に繋がりかねないのですが、電気露出計に各種交換レンズ、金属幕シャッターなど、「当時のカメラの未来」を現実化した姿はまったくの驚きです。

「コンタフレックス」の受光部と調節部
一方の「スーパーコダック620」の極度に操作部を感じさせない構造は、まさに「自動化」ということを強く意識させます。それでいて有機的な雰囲気は、新技術と魅力をわかりやすく美しい形で消費者に伝える。人々に新しい生活と美しさをもたらす。というティーグとアール・デコ期のデザインの方向性をよく表しているものといえます。

側面から見た「スーパーコダック620」
1930年代、同時期の製造でありながら対極ともいえる雰囲気。しかし通底するものを感じるのは、両機ともに「写真とは」や「カメラとは」という、目指すべきところが明快だからなのかもしれません。性能や構造だけではなく、そうした視点から見てみるのも、工業製品の面白さと言えるでしょう。コンテンツ記事関連商品ツァイスイコン
アクセサリー
¥6,500
カメラのヤマゲン
ツアイス
コンパクト・その他
¥114,000
レモン社
ツアイスイコン
35mm一眼カメラ
¥19,800
サイトウカメラ
井口留久寿(いのくちるくす) Inoctilux
本名は井口芳夫、1972(昭和47)年福岡市出身。日本大学芸術学部写真学科卒業後、財団法人日本写真機光学機器検査協会(現・日本カメラ財団)に就職し、同財団が運営する日本カメラ博物館の学芸員として勤務。カメラと時計の修理が趣味だが、その趣味をひと段落するため車を入手するも修理に追われ、資料と工具と部品が増えるばかり。
ウェブサイト:日本カメラ博物館
https://www.jcii-cameramuseum.jp/